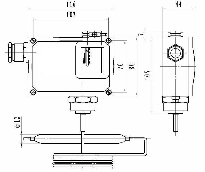
Type:D541/7T、D541/7TK Temperature Switch
Illustrate: D541/7T、D541/7TK TemperatureSwitch Capillarytypethermalelement For.neutralgaseousandliquidfluids Workingtemperaturerange-30...+280℃ □MainTechnicalData EnvironmentallTemperature:-25-60℃23 SwitchingElement:micro-switch. HousingProte..
D541/7T、D541/7TK
Temperature Switch
Capillary type thermal element
For.neutral gaseous and liquid fluids
Working temperature range -30...+280℃
□Main Technical Data
Environmentall Temperature: -25-60℃ 2 3Switching Element: micro-switch.
Housing Protection Garde: IP65
(according with DIN40050, and corresponding to IP65 in GB4208)
Capillary: 4m 1
Terminals 1-3:Contacts ctose on rising temperatureMaterials (Sensor): Cu
Vibretion resistence: D541/7T: 40M/s
D541/7TS: 20M/s
Repeatability Error: ≤3%
Contact Capacity: AC220V 6A (resistivity).
(As for special requirements, you may refer to the Application
Manual Written by this factory)
□Characterisitic Data
|
Adjustable Range [℃](°F) |
Switching temperature difference |
Maximum Allowable Temperature [℃] (°F) |
Weight [KG] |
Dimensional Drawing NO. |
Cat. NO. | ||||
|
Lower Range [℃] (°F) |
Upper Range [℃] (°F) |
||||||||
| Switching temperature difference not adjustable (D541/7T) | |||||||||
| -30...+40(-22...104) |
4 (7.2) |
2 (3.6) |
+ 70 (158) |
0.95 |
01 |
0891500 | |||
|
+10...+75 (50...167) |
5 (9) |
2.5 (4.5) |
+ 95 (203) |
0.95 | 0891700 | ||||
|
+60...+165 (140...329) |
12 (21.6) |
4 (7.2) |
+190 (383) |
0.95 | 0891800 | ||||
|
+160...+280 (+320...+536) |
14 (35.2) |
6 (12.8) |
+320 (608) |
0.95 | 0891900 | ||||
| Switching temperature difference adjustable (D541/7T) | |||||||||
| -30...+40(-22...104) |
8...20 (14.4...36) |
6.5...8 (11.7...14.4) |
+ 70 (158) |
1.00 |
01 |
0890500 | |||
|
+10...+75 (50...167) |
9...25 (16.2...44) |
4...10 (7.2...18) |
+ 95 (203) |
1.00 | 0890700 | ||||
|
+60...+165 (140...329) |
18...30 (32.4...54) |
6...10 (12.8...18) |
+190 (383) |
1.00 | 0890800 | ||||
|
+160...+280 (+320...+536) |
20...40 (36..72) |
8...15 (14.4...27) |
+320 (608) |
1.00 | 0890900 | ||||
| Switching temperature difference not adjustable (D541/7TK) | |||||||||
| -30...+40(-22...104) |
2.5 (6.5) |
1.5 (2.7) |
+ 70 (158) |
0.95 |
01 |
0891507 | |||
|
+10...+75 (50...167) |
3 (5.4) |
2 (3.6) |
+ 95 (203) |
0.95 | 0891707 | ||||
|
+60...+165 (140...329) |
6 (12.8) |
3 (5.4) |
+190 (383) |
0.95 | 0891807 | ||||
|
+160...+280 (+320...+536) |
7 (12.6) |
4 (7.2) |
+320 (608) |
0.95 | 0891907 | ||||
01
Accessories
The selectable accessory catalogue numbers : 0574757. 0574758,
0574755, 0574772, 0574759, 0574760
|
Open protection sleeve R1/2 For sensor ,cartidge Material brass Cat. NO. 0574757 Material st. St.1.4571 Cat.NO. 0574759 ![]() |
Closed protection sleeve R1/2 For sensor cartridge Material brass Cat. NO. 0574758 Material st. St.1.4571 (with brass plug) Cat. NO. 0574760 ![]() |
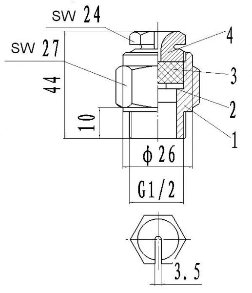
Removable screw coupling R1/2,Material brass,with seal (without protection sleeve, Up to max.6 bar) Cat.ON. 0574755 |
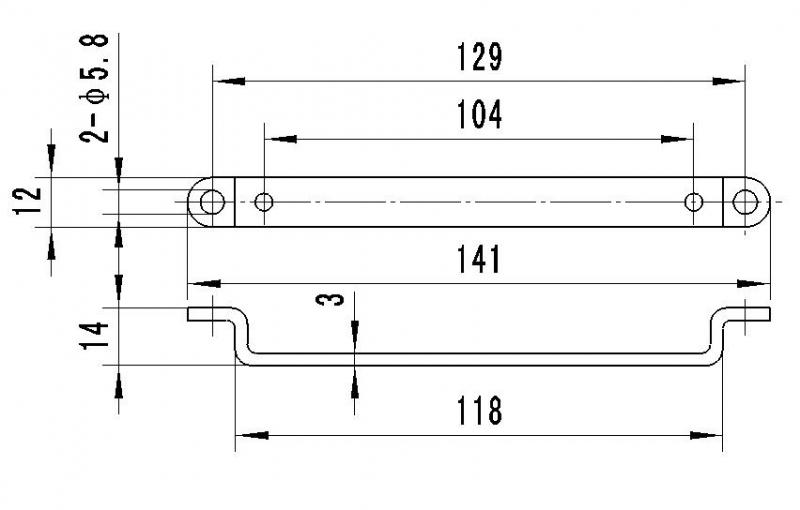
7 T-support (2 brackets, 4 screws) Cat. NO, 0574772 ![]() |
Switch selection and mounting
instructions
The switching points should normally be in about
The middle of the adjustable range.
Observe switching temperature range, do not subject
Switch to max. Allowable temperature during normal
Operation.
Do not exceed electrical ratings.
Electrcal connection by a M18*1.5 cable gland, in
Accordance with local regulations For outdoor
Installation sufficient are: dractic changes in
Temperature, solar radiation, penetration of water.
Setting of the switching points
Use range spindle to set the upper or lower switching
Point on designs with fixed switching temperature
Difference, the opposite one is determined by the
Fixed switching temperature difference
On designs with adjustable switching temperature.
Difference, use range spindle to set the lower
Switching point, then use differential spindle to set
The upper switching point by adding the desired
Switching temperature difference
Turning the range spindle anticockwise shifts both
Switching points upwards, Turning the differential
Spindle anticlockwise shifts only the upper switching
Point upwards,i.e.the switching pressure difference
(distance between the upper and lower switching
Points) increases.
Example:
Desired: Lower switching point 40℃
Upper switching point 55℃
(Switching temperature difference=15K)
Setting: 40℃(with range spindle)
15K(with differential spindle)
To set precise switching points a thermometer is
Reguired.(The temperatue switch is a switching andRegulating device and not a measuring instrument
- even if it has a scale to assist in the setting).
The setting can be changed at anytimen, even during
operation.
instructions
The switching points should normally be in about
The middle of the adjustable range.
Observe switching temperature range, do not subject
Switch to max. Allowable temperature during normal
Operation.
Do not exceed electrical ratings.
Electrcal connection by a M18*1.5 cable gland, in
Accordance with local regulations For outdoor
Installation sufficient are: dractic changes in
Temperature, solar radiation, penetration of water.
Setting of the switching points
Use range spindle to set the upper or lower switching
Point on designs with fixed switching temperature
Difference, the opposite one is determined by the
Fixed switching temperature difference
On designs with adjustable switching temperature.
Difference, use range spindle to set the lower
Switching point, then use differential spindle to set
The upper switching point by adding the desired
Switching temperature difference
Turning the range spindle anticockwise shifts both
Switching points upwards, Turning the differential
Spindle anticlockwise shifts only the upper switching
Point upwards,i.e.the switching pressure difference
(distance between the upper and lower switching
Points) increases.
Example:
Desired: Lower switching point 40℃
Upper switching point 55℃
(Switching temperature difference=15K)
Setting: 40℃(with range spindle)
15K(with differential spindle)
To set precise switching points a thermometer is
Reguired.(The temperatue switch is a switching andRegulating device and not a measuring instrument
- even if it has a scale to assist in the setting).
The setting can be changed at anytimen, even during
operation.
Making and or breaking capacity
Change-over switch with silver sping contacts
|
Type of current |
Type of load |
Voltage[V] | |||
| 24 | 60 | 110 | 220 | ||
| Make and break current[A] | |||||
| AC |
Resistive load Inductive load Cos≈0.7 Resistive load. Inductive load. L/R≈10ms Inductive load Spark quenching With diode |
15 | 15 | 15 | 15 |
| AD | 4 | 2.5 | 1.5 | 0.9 | |
| DC | 2 | 0.9 | 0.45 | 0.2 | |
| DC | 1 | 0.3 | 0.09 | 0.02 | |
| DC | 1.5 | 0.7 | 0.35 | 0.15 | |
Spark quenching (direct current):
Diode in parallel with inductance. Make sure polarity.
Is correct when making connections.
Dimensioning of quenching diode (rectifier):
Rated voltage of diode VD≥1.4XVterm.
Rated current of diode 1Rated≥1Load
In case of vigorous contact chatter, use a selenium
Rectifier if breaking inductance is >2H(rectifiers
Having a diffusion barrier layer may get distroyed by
The constant pole reversal).
Предыдущий:Mechanical temperature switch следующий:沒有了




Removable screw coupling R1/2,








