Location -> Продукты -> Расходомер -> Расходомер для жидкости
Type:жидкий турбинный преобразователь расхода серии
Illustrate:Датчик -- подшипниковый тип твёрдого сплава , а не только для обеспечения точности, улучшения износостойкости и имеет простую структуру, крепость и простой демонтаж.
Интеллектуальный жидкий турбинный преобразователь расхода серии CX-LTFM
1.Структура и принцип работы
(1)Структурные характеристики
Датчик -- подшипниковый тип твёрдого сплава , а не только для обеспечения точности, улучшения износостойкости и имеет простую структуру, крепость и простой демонтаж.
(2)Принцип работы
Поток жидкости текает через корпус датчика, лопасти крыльчатки и поток на определенный угол, из-за импульса жидкости, лопасть имеет крутящий момент, после преодоления момента трения и сопротивления жидкости вращающиеся лопасти, после того, как крутящий момент уравновешивается скоростью и стабильностью при определенных условиях, скорость пропорциональна скорости потока.
Из-за магнитной проницаемости лопасти, в магнитное поле детектора сигнала (состит из постоянной магнитой стали и катушкой), Вращающаясь лопасть режет магнитную силовую, периодически меняет магнитный поток катушки, так что оба конца катушки индуцирует электрический импульсный сигнал. Этот сигнал после усиления и формирования усилителя, сформированный определенный уровень непрерывный прямоугольной волны импульса, может быть удалена для отображения инструмента, показывающие, мгновенный поток жидкости или общий расход.
В течение определенного диапазона скоростей потока, частота импульса f пропорциональна мгновенной скорости потока Q, протекающий через датчик,
мгновенный расход Q пропорциональна е частота импульсов с жидкостью, протекающей через датчик,
уравнение расхода:
В том числе:
F-- частота импульсов [Hz]
k-- коэффициент коррекции датчика [1/m3],задаетсяповерочное свидетельство。Условия [1/L],
Q -- мгновенный расход жидкости [m3/h]
3600 -- коэффициент перевода
Коэффициент каждого датчика заполнится в сертификате производителем, значение k в скомплектованный дисплей, может показать мгновенный расход и нарастающий итог.
2. Основные параметры и технические характеристики
(1) Основные параметры: см. Табл.1
一 Табл.
DN 4-DN40, датчик таного калибра, резьбовое соединение;
максимальное рабочее авление 6.3Mpa
DN50-DN200,датчик таного калибра, Фланцевое соединение;
максимальное рабочее давление 2.5Mpa
DN 4-DN10, датчик с передней и задней прямой трубой, фильтром
DN15 и выший калибр, датяик может быть оснащен передней и задней прямой трубой.
(2)Температура среды:-20~+120℃.
(3)Температура окружающей среды:-20~+55 ° C
(4)Питание источника: Напряжение: +5-24 VDC, постоянный ток: ≤ 10 mA
(5)Дальность передачи: датчик от дисплея на расстояниях до 1000m.
3. Установки, использования и настройки
(1)Установка
Установка датчика в зависимости от различных спецификаций, с резьбовым или фланцевым соединением, установка см. черт.1, черт.2, черт.3, установочные размеры приведены в таблице 2

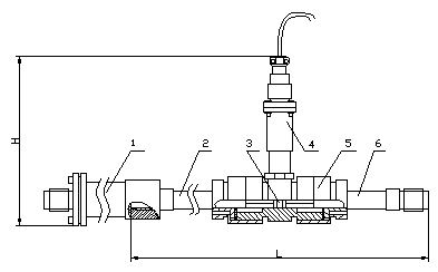
1. переднее прямое звено трубы 3 крыльчатка
4.предусилитель 5.капсида 6.заднее прямое звено трубы
Конструктивный чертёж целого прибора

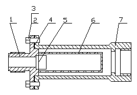
1. зажимное кольцо 2.болт 4×14 3. шайба 4.уплотнительная шайба
5.стальная проволока 1Cr18Ni9Ti-0.8×2.5 6.сетка-фильтр 7.Станина
Конструктивный чертёж фильтра
Черт.1 LWGY—4~10 Структура датчика и монтажная схема

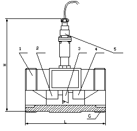
1.капсида 2.передний направляющий элемент 3. крыльчатка
4.задний направляющий элемент 5.предусилитель
Черт.2 LWGY—15~40 Структура датчика и монтажная схема

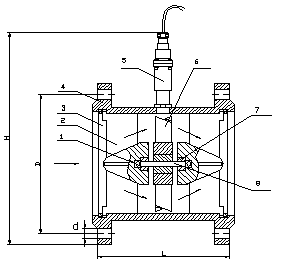
1. шариковый подшипник 2.передний направляющий элемент 3. уплотняющее кольцо 4.капсида 5.предусилитель 6.крыльчатка
7.подшипник 8.ось
Черт.3 LWGY—50~200 Структура датчика и монтажная схема

Черт.4 LWGY—50~200 схема соединительного провода датчика и дисплея
1.Структура и принцип работы
(1)Структурные характеристики
Датчик -- подшипниковый тип твёрдого сплава , а не только для обеспечения точности, улучшения износостойкости и имеет простую структуру, крепость и простой демонтаж.
(2)Принцип работы
Поток жидкости текает через корпус датчика, лопасти крыльчатки и поток на определенный угол, из-за импульса жидкости, лопасть имеет крутящий момент, после преодоления момента трения и сопротивления жидкости вращающиеся лопасти, после того, как крутящий момент уравновешивается скоростью и стабильностью при определенных условиях, скорость пропорциональна скорости потока.
Из-за магнитной проницаемости лопасти, в магнитное поле детектора сигнала (состит из постоянной магнитой стали и катушкой), Вращающаясь лопасть режет магнитную силовую, периодически меняет магнитный поток катушки, так что оба конца катушки индуцирует электрический импульсный сигнал. Этот сигнал после усиления и формирования усилителя, сформированный определенный уровень непрерывный прямоугольной волны импульса, может быть удалена для отображения инструмента, показывающие, мгновенный поток жидкости или общий расход.
В течение определенного диапазона скоростей потока, частота импульса f пропорциональна мгновенной скорости потока Q, протекающий через датчик,
мгновенный расход Q пропорциональна е частота импульсов с жидкостью, протекающей через датчик,
уравнение расхода:
В том числе:
F-- частота импульсов [Hz]
k-- коэффициент коррекции датчика [1/m3],задаетсяповерочное свидетельство。Условия [1/L],
Q -- мгновенный расход жидкости [m3/h]
3600 -- коэффициент перевода
Коэффициент каждого датчика заполнится в сертификате производителем, значение k в скомплектованный дисплей, может показать мгновенный расход и нарастающий итог.
2. Основные параметры и технические характеристики
(1) Основные параметры: см. Табл.1
一 Табл.
| LWGY□ | □□□ | □ | □ | □ | Пояснение | |
|
6 Тип |
LWGY | Основной тип, источник питания +5-24DCV | ||||
| LWGY-A | 4~20mA,двухпроводной токовый выход, удаленный тип передатчика | |||||
| LWGY-B | С батарейным питанием полевой дисплей | |||||
| LWGY-C | Местный дисплей,4~20mA двухпроводной токовый выход | |||||
| 4 | 4mm,Обычный диапазон расхода турбины 0.04~0.25m3/h | |||||
| 6 | 6mm,Обычный диапазон расхода турбины 0.1~0.6m3/h | |||||
| 10 | 10mm,Обычный диапазон расхода турбины 0.2~1.2m3/h | |||||
| 15 | 15mm,Обычный диапазон расхода турбины 0.6~6m3/h | |||||
| 20 | 20mm, Обычный диапазон расхода турбины 0.8-8m3/h | |||||
| 25 | 25mm,Обычный диапазон расхода турбины :1~10m3/h | |||||
| 32 | 32mm,Обычный диапазон расхода турбины 1.6-16m3/h | |||||
| 40 | 40mm,Обычный диапазон расхода турбины 2~20m3/h | |||||
| 50 | 50mm,Обычный диапазон расхода турбины 4~40m3/h | |||||
| 65 | 65mm,Обычный диапазон расхода турбины 8-80m3/h | |||||
| 80 | 80mm,Обычный диапазон расхода турбины 10~100m3/h | |||||
| 100 | 100mm,Обычный диапазон расхода турбины 20~200m3/h | |||||
| 125 | 125mm,Обычный диапазон расхода турбины 25-250m3/h | |||||
| 150 | 150mm,Обычный диапазон расхода турбины 30~300m3/h | |||||
| 200 | 200mm,Обычный диапазон расхода турбины 80~800m3/h | |||||
| Без маркировки, не взрывозащищенный | ||||||
| B | Взрывозащищенный | |||||
| Степень точности:1 | ||||||
DN 4-DN40, датчик таного калибра, резьбовое соединение;
максимальное рабочее авление 6.3Mpa
DN50-DN200,датчик таного калибра, Фланцевое соединение;
максимальное рабочее давление 2.5Mpa
DN 4-DN10, датчик с передней и задней прямой трубой, фильтром
DN15 и выший калибр, датяик может быть оснащен передней и задней прямой трубой.
(2)Температура среды:-20~+120℃.
(3)Температура окружающей среды:-20~+55 ° C
(4)Питание источника: Напряжение: +5-24 VDC, постоянный ток: ≤ 10 mA
(5)Дальность передачи: датчик от дисплея на расстояниях до 1000m.
3. Установки, использования и настройки
(1)Установка
Установка датчика в зависимости от различных спецификаций, с резьбовым или фланцевым соединением, установка см. черт.1, черт.2, черт.3, установочные размеры приведены в таблице 2

1. переднее прямое звено трубы 3 крыльчатка
4.предусилитель 5.капсида 6.заднее прямое звено трубы
Конструктивный чертёж целого прибора

1. зажимное кольцо 2.болт 4×14 3. шайба 4.уплотнительная шайба
5.стальная проволока 1Cr18Ni9Ti-0.8×2.5 6.сетка-фильтр 7.Станина
Конструктивный чертёж фильтра
Черт.1 LWGY—4~10 Структура датчика и монтажная схема

1.капсида 2.передний направляющий элемент 3. крыльчатка
4.задний направляющий элемент 5.предусилитель
Черт.2 LWGY—15~40 Структура датчика и монтажная схема

1. шариковый подшипник 2.передний направляющий элемент 3. уплотняющее кольцо 4.капсида 5.предусилитель 6.крыльчатка
7.подшипник 8.ось
Черт.3 LWGY—50~200 Структура датчика и монтажная схема

Черт.4 LWGY—50~200 схема соединительного провода датчика и дисплея
|
Номинальный диаметр (mm) |
L(mm) | H(mm) | G | Lˊ(mm) | D(mm) | d(mm) | Количество отверстий | |
| LWGY-4 | 4 | 275 | 145 | G1/2 | 215 | |||
| LWGY-6 | 6 | 275 | 145 | G1/2 | 215 | |||
| LWGY-10 | 10 | 455 | 165 | G1/2 | 350 | |||
| LWGY-15 | 15 | 75 | 173 | G1 | ||||
| LWGY-25 | 25 | 100 | 180 | G5/4 | ||||
| LWGY-40 | 40 | 140 | 178 | G2 | ||||
| LWGY-50 | 50 | 150 | 252 | Ф125 | Ф18 | 4 | ||
| LWGY-80 | 80 | 200 | 287 | Ф160 | Ф18 | 8 | ||
| LWGY-100 | 100 | 220 | 322 | Ф180 | Ф18 | 8 | ||
| LWGY-150 | 150 | 300 | 367 | Ф250 | Ф25 | 8 |
Предыдущий:Мобильный заправ.. следующий:Цифровой водомер..










